Power Electronics

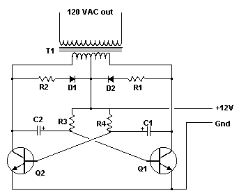
Simple Inverter 12V DC to 120V AC

This is a basic and very simple low power inverter to convert 12V DC to 120V AC. How much power…

56 years ago

Power Inverter 100W, 12V DC to 220V AC

Here is 100 Watt Inverter 12V DC to 220V AC schematic diagram. This circuit designed using the combination of main…

56 years ago

Inverter 12V DC to 240V DC

This inverter 12V DC to 240V DC can be used to power electric razors, stroboscopes and flash tubes, and small…

56 years ago